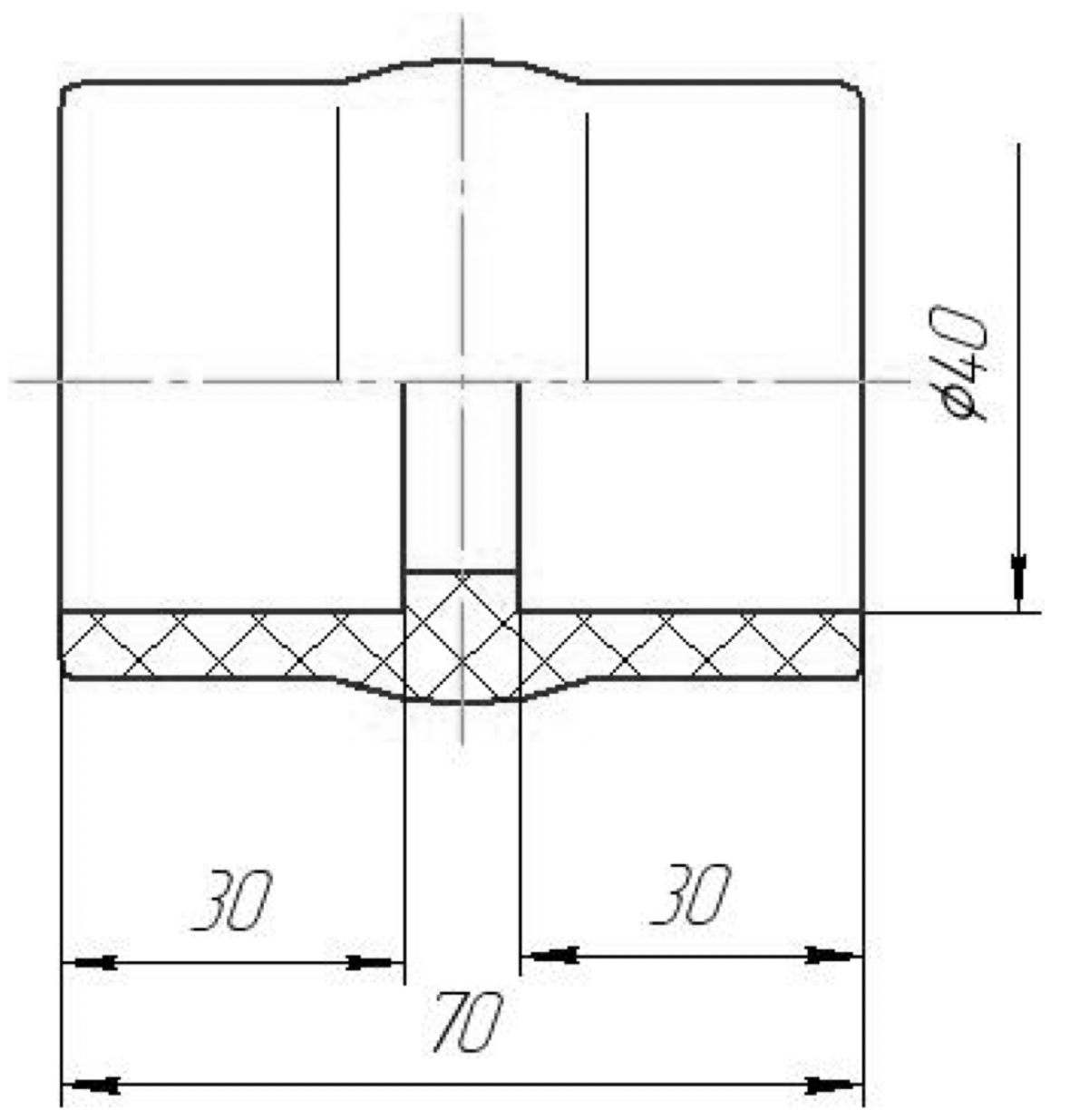
Для соединения труб Dнар= 45;
Материал – резина;
Масса – 0,091 кг
Материал – резина;
Масса – 0,091 кг
Наличие товара на складе и актуальность цен уточняйте у наших менеджеров
Пн. – Пт с 8:00 – 17:00
Обед с 12:00 – 13:00
