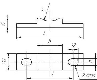
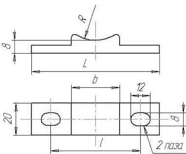
Материал - резина.
Подробнее
Наличие товара на складе и актуальность цен уточняйте у наших менеджеров
| № | Обозначение | Наименование | Размеры,мм | Масса,кг | |||
|---|---|---|---|---|---|---|---|
| п/п | L | l | b | R | |||
| 1 | ШРИБ-141-00.001 | Прокладка | 80 | 56 | 30 | 22 | 0.02 |
| 2 | -1 | Прокладка | 95 | 72 | 40 | 30 | 2.5000000000000001E-2 |
