Наличие товара на складе и актуальность цен уточняйте у наших менеджеров
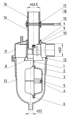
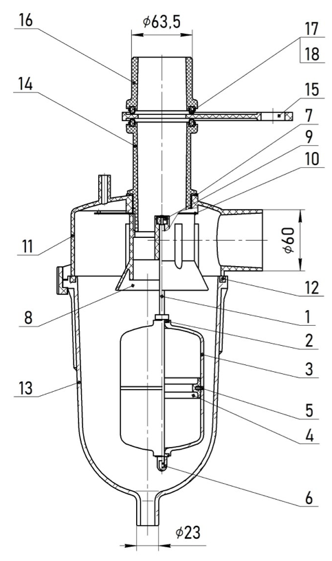
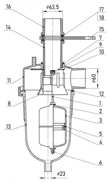
1 – Шток АДМ 25.080;
2 – Прокладка АДМ 25.019;
3 – Полусфера АДМ 25.021;
4 – Обойма АДМ 52.033;
5 – Прокладка АДМ 52.035;
6 – Гайка АДМ 25.607;
7 – Кольцо УДТ 08.002;
8 – Гайка АДМ 25.088;
9 – Шайба АДМ 25.018;
10 – Отражатель АДМ 25.414;
11 – Крышка АДМ 25.015;
12 – Прокладка АДМ 25.017;
13 – Корпус АДМ 25.016;
14 – Корпус ШРИБ - 108-311.001;
15 – Шибер ШРИБ - 108-311.002;
16 – Наконечник ШРИБ - 108-311.003;
17 – Оболочка ШРИБ - 108-311.004;
18 – Амортизатор ШРИБ - 108-311.005
2 – Прокладка АДМ 25.019;
3 – Полусфера АДМ 25.021;
4 – Обойма АДМ 52.033;
5 – Прокладка АДМ 52.035;
6 – Гайка АДМ 25.607;
7 – Кольцо УДТ 08.002;
8 – Гайка АДМ 25.088;
9 – Шайба АДМ 25.018;
10 – Отражатель АДМ 25.414;
11 – Крышка АДМ 25.015;
12 – Прокладка АДМ 25.017;
13 – Корпус АДМ 25.016;
14 – Корпус ШРИБ - 108-311.001;
15 – Шибер ШРИБ - 108-311.002;
16 – Наконечник ШРИБ - 108-311.003;
17 – Оболочка ШРИБ - 108-311.004;
18 – Амортизатор ШРИБ - 108-311.005
