Наличие товара на складе и актуальность цен уточняйте у наших менеджеров
|
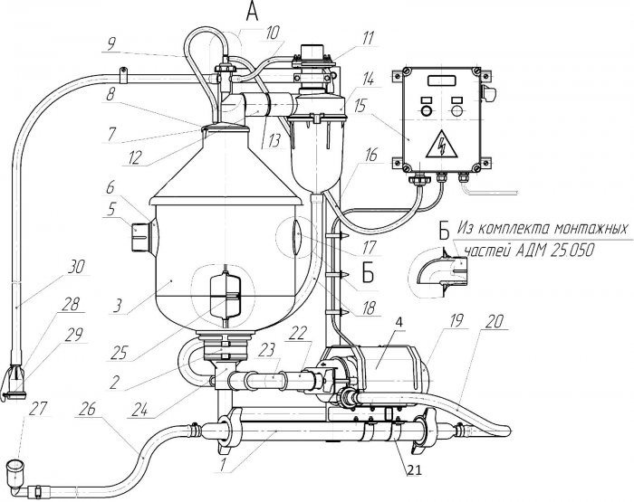
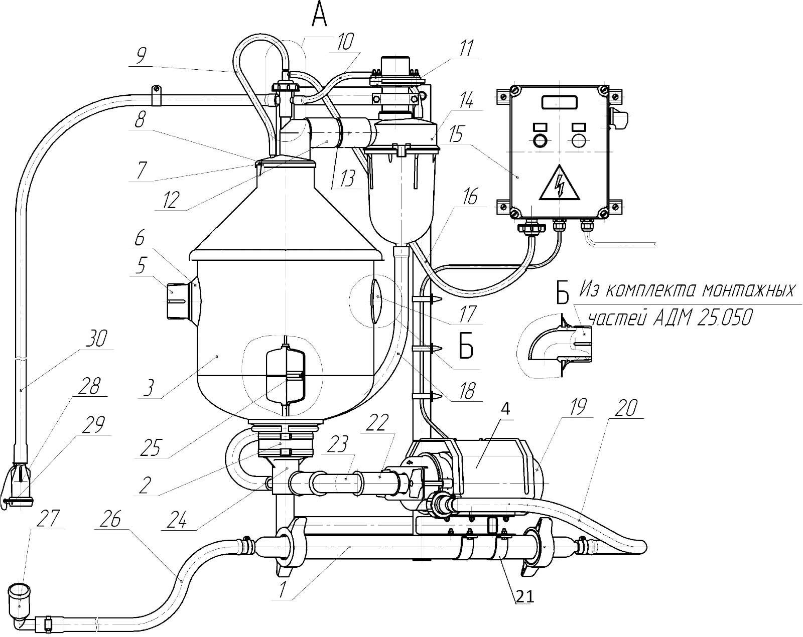
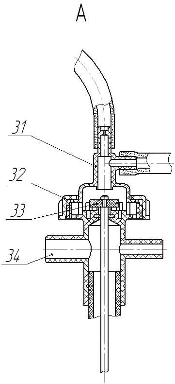
1 – Фильтр АДМ 09.400-01; 2 – Воронка АДМ 25.006; 3 – Баллон Шриб-135-10.000; 4 – Кожух АДМ 25.418; 5 – Молоковвод УД 25.001; 6 – Уплотнитель УД 25.002; 7 – Кольцо УДА 101.009; 8 – Крышка АДМ 25.012; 9 – Шланг ПВХ 7х3,5х320; 10 – Шланг ПВХ 11х4,5х360; 11 – Кран шиберный ШРИБ-108-311.000; 12 – Муфта АДМ 25.041; 13 – Труба АДМ 25.007; 14 – Камера предохранительная АДМ 25.070; 15 – Шкаф управления ШУМН-1; 16 – Шланг ПВХ 7х3,5х1000; 17 – Пробка АДМ 00.036; |
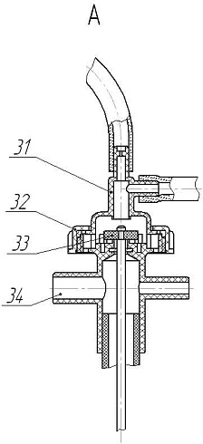
18 – Шланг ПВХ 20х5х1000; 19 – Насос молочный НМУ– 6А; 20 – Шланг ПВХ 20х5х1000; 21 – Хомут АДМ 25.421 22 – Муфта ДПР 05.008-01; 23 – Угольник АДМ 00.021; 24 – Тройник АДМ 25.011; 25 – Поплавок АДМ 25.190; 26 – Шланг ПВХ 20х5х10000; 27 – Угольник АДМ 25.014; 28 – Переходник АДМ 25.013; 29 – Колпачок защитный ДФ 04.001А; 30 – Шланг ПВХ 14х5х2200; 31 – Крышка АДМ 25.032; 32 – Гайка УД 02.006; 33 – Клапан АДМ 25.002; 34 – Переходник АДМ 25.170 |
