Наличие товара на складе и актуальность цен уточняйте у наших менеджеров
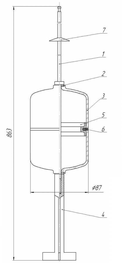
1 – Шток АДМ 25.180;
2 – Прокладка АДМ 25.019;
3 – Полусфера АДМ 25.021;
4 – Наконечник АДМ 25.034;
5 – Обойма АДМ 52.033;
6 – Прокладка АДМ 52.035;
7 – Отражатель АДМ 25.432
2 – Прокладка АДМ 25.019;
3 – Полусфера АДМ 25.021;
4 – Наконечник АДМ 25.034;
5 – Обойма АДМ 52.033;
6 – Прокладка АДМ 52.035;
7 – Отражатель АДМ 25.432
