Комплектующие и детали, которые используются для ремонта и обслуживания доильных аппаратов
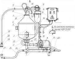
Охладители молока пластинчатые ОМП1 предназначены для
предварительного охлаждения молока на фермах крупного
рогатого скота. Особенностью охладителей ОМП1является
бесклеевое соединение прокладок с пластинами.
